江蘇圣力離心機制造有限公司
Jiangsu Shengli Centrifuge Manufacturing Co., Ltd.
認真做事,誠信做人
全自動卸料離心機/石膏離心機
產品中心
PRODUCTS
產品中心
Shengli Centrifuge Manufacturing
LGZ系列平板式刮刀下部卸料全自動離心機

主要特點
◆采用PLC控制,程序設定,無人看護的自動化操作,加料、初過濾、洗滌、精過濾、卸料全過程監護。
◆變頻調速,啟動平穩,分離因數可調。
◆能耗制動,非接觸式制動方式,無磨擦粉塵污染。
◆全密閉結構,密封件采用硅橡膠或氟橡膠,離心機內腔氮氣保護,可實現密閉防爆要求。
◆結構設計合理,在線清洗系統(噴淋系統),保證了潔凈度要求,符合GMP規范。
◆自動動作元件采用氣動系統,清潔衛生。
◆料層控制器。
◆選裝氣體輔助刮刀,卸料后轉鼓中無殘余濾餅。
◆無基礎安裝,結構簡潔,外形美觀,清洗方便。
◆減振和隔振系統設計科學合理,采用平衡塊和進口高精度液態阻尼劑式隔振器,設備振動全部被隔振系統吸收、對基礎地面和周邊環境無振動干擾。
◆設備基礎平衡板又可作為操作平臺,操作維護更方便。
◆安全保護:轉速檢測,過振動保護,開蓋保護,電機過載過熱保護,刮刀旋轉,升降機械電氣雙重控制,刮刀與轉鼓的聯動鎖定。
選配裝置
◆清洗噴淋系統;氮氣保護系統;料層控制器;
◆PLC程序控制;液壓動作系統;氣體輔助刮刀;
◆按用戶所分離物料的防腐要求選用相應的材料(SUS304、316、316L、321、鈦材、哈氏合金、襯塑、襯膠、噴涂halar等)。
主要參數
| 項目 | 型號 | ||||||
| LGZ800 | LGZ1000 | LGZ1250 | LGZ1360 | LGZ1500 | LGZ1600 | ||
| 轉鼓直徑(mm) | 800 | 1000 | 1250 | 1360 | 1500 | 1600 | |
| 轉鼓有效高度(mm) | 400 | 450 | 630 | 800 | 800 | 750 | 800/1000 |
| 轉鼓有效容積(L) | 100 | 160 | 354 | 450 | 530 | 612 | 775/970 |
| 最大裝料限量(kg) | 140 | 215 | 480 | 580 | 680 | 825 | 1150/1300 |
| 轉鼓轉速(r/min) | 1200/1500 | 1000/1200 | 1000/1200 | 1000 | 970 | 850 | 800 |
| 過濾面積(m2) | 1.0 | 1.41 | 2.47 | 3.14 | 3.41 | 3.53 | 4.01/5.02 |
| 分離因素(ω2r/ ɡ) | 645/1006 | 560/804 | 700/1006 | 700 | 715 | 606 | 573 |
| 電機功率(kw) | 7.5/11 | 11/15 | 22/30 | 30 | 30 | 37 | 37/45 |
| 整機重量(kg) | 2000 | 2600 | 4200 | 4500 | 4700 | 8000 | 9500/10000 |
| 外形尺寸(mm) | 1800×1300×2000 | 1950×1600×2100 | 2300×1800×2400/2700 | 2350×1900×2700 | 2800×2100×2700 | 2980×2250×3000/3200 | |
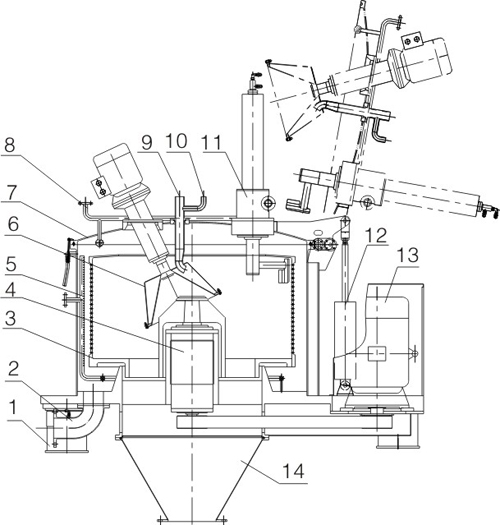
結構示意圖

| 1.阻尼減振器 | 2.出液管 |
| 3.轉鼓 | 4.傳動總成 |
| 5.下在線清洗 | 6.斜盤布料器 |
| 7.翻蓋 | 8.上在線清洗 |
| 9.進料管 | 10.洗滌管 |
| 11.刮刀總成 | 12.翻蓋油缸 |
| 13.主電機 | 14.出料斗 |